Ручка переключения передач, подойдет ли от Golf?
-
Автор темыvladimir
- Наблюдатель

- Всего сообщений: 11
- Зарегистрирован: 11.04.2013
- Вод.стаж с: 1990
- Откуда: москва
- Авто: Sharan 1.9 TDI 2005
Ручка переключения передач, подойдет ли от Golf?
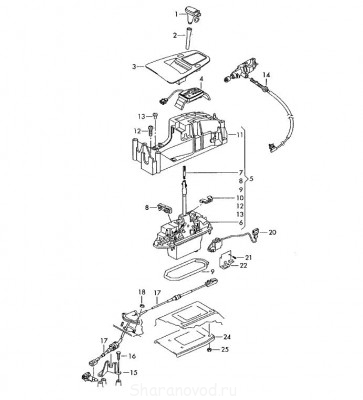
Подскажите, пожалуйста, подойдет ли ручка переключения передач на Sharan 2005 1.9 TDI от VW Golf того же года?
Спасибо.
Спасибо.
-
iluha233
- Участник

- Всего сообщений: 119
- Зарегистрирован: 26.02.2012
- Вод.стаж с: 1995
- Откуда: Moscow
- Авто: Sharan, 2001, 2.0 ATM, 6МКПП EZA
- Возраст: 49
Re: Ручка переключения передач, подойдет ли от Golf?
Какая коробка, АКПП или МКПП? Лучше конечно VIN номер, для большей точности. Какие позиции интересуют?vladimir: ручка переключения передач на Sharan 2005
Последний раз редактировалось iluha233 11 апр 2013, 12:53, всего редактировалось 1 раз.
Электрика в нем задолбала, но SHARAN все равно нравится.
-
11piligrim11
- Супермодератор

- Всего сообщений: 7544
- Зарегистрирован: 12.03.2013
- Вод.стаж с: 1995
- Откуда: г.Минск
- Авто: VW Sharan, 1.8 20V Turbo, AWC 2001 г.в. Мешалка
- Возраст: 48
Re: Ручка переключения передач, подойдет ли от Golf?
Имеется ввиду только ручка, как набалдошник или весь рычаг?
Ни что не радует так, как то, что сделано собственными руками.
11piligrim11
11piligrim11
-
Автор темыvladimir
- Наблюдатель

- Всего сообщений: 11
- Зарегистрирован: 11.04.2013
- Вод.стаж с: 1990
- Откуда: москва
- Авто: Sharan 1.9 TDI 2005
Re: Ручка переключения передач, подойдет ли от Golf?
Интересует только ручка, хотя для Golf нашел с кожаным чехлом, можно и его обновить, но не принципиально. Сам рычаг не нужен точно.
Коробка - механика, шестиступка. VIN, к сожалению, так сразу не подскажу.
Коробка - механика, шестиступка. VIN, к сожалению, так сразу не подскажу.
-
iluha233
- Участник

- Всего сообщений: 119
- Зарегистрирован: 26.02.2012
- Вод.стаж с: 1995
- Откуда: Moscow
- Авто: Sharan, 2001, 2.0 ATM, 6МКПП EZA
- Возраст: 49
Re: Ручка переключения передач, подойдет ли от Golf?
У Шарана ручка КПП поставляется вместе с чехлом, у Гольфа также. Чехлы у них разные по высоте. По крепежу самой ручки не скажу, может и встанет, у обоих крепится на резьбе. Если дашь цвет чехла, подскажу его оригинальный номер.
Электрика в нем задолбала, но SHARAN все равно нравится.
-
Автор темыvladimir
- Наблюдатель

- Всего сообщений: 11
- Зарегистрирован: 11.04.2013
- Вод.стаж с: 1990
- Откуда: москва
- Авто: Sharan 1.9 TDI 2005
-
iluha233
- Участник

- Всего сообщений: 119
- Зарегистрирован: 26.02.2012
- Вод.стаж с: 1995
- Откуда: Moscow
- Авто: Sharan, 2001, 2.0 ATM, 6МКПП EZA
- Возраст: 49
Re: Ручка переключения передач, подойдет ли от Golf?
Извини, а ручка сама кожаная или простая, там вариантов мульон, сразу не увидел. Если ручка простая, чехол черный кожзам, то твой номер 7M3711113 FEU, если ручка кожзам и чехол кожзам все черного цвета, то номер 7M3711113 CFEU, еще разные варианты цветов. Поэтому лучше вин, чтоб уж наверняка.vladimir:Цвет чехла – черный.
Электрика в нем задолбала, но SHARAN все равно нравится.
-
Автор темыvladimir
- Наблюдатель

- Всего сообщений: 11
- Зарегистрирован: 11.04.2013
- Вод.стаж с: 1990
- Откуда: москва
- Авто: Sharan 1.9 TDI 2005
Re: Ручка переключения передач, подойдет ли от Golf?
Спасибо, и ручка и чехол кожзам, поэтому, номер по видимости второй.
-
11piligrim11
- Супермодератор

- Всего сообщений: 7544
- Зарегистрирован: 12.03.2013
- Вод.стаж с: 1995
- Откуда: г.Минск
- Авто: VW Sharan, 1.8 20V Turbo, AWC 2001 г.в. Мешалка
- Возраст: 48
Re: Ручка переключения передач, подойдет ли от Golf?
Не вводи в заблуждение. Ручка в шаране не на резьбе, а надевается на рычаг и крепится хомутом. Как на гольфе, не скажу.
Ни что не радует так, как то, что сделано собственными руками.
11piligrim11
11piligrim11
-
iluha233
- Участник

- Всего сообщений: 119
- Зарегистрирован: 26.02.2012
- Вод.стаж с: 1995
- Откуда: Moscow
- Авто: Sharan, 2001, 2.0 ATM, 6МКПП EZA
- Возраст: 49
Re: Ручка переключения передач, подойдет ли от Golf?
Извиняюсь, давно дело было - не на резьбе, а после еще куча машин.11piligrim11: Ручка в шаране не на резьбе
Электрика в нем задолбала, но SHARAN все равно нравится.
-
- Похожие темы
- Ответы
- Просмотры
- Последнее сообщение
Мобильная версия