Включается вентилятор радиатора
-
11piligrim11
- Супермодератор

- Всего сообщений: 7544
- Зарегистрирован: 12.03.2013
- Вод.стаж с: 1995
- Откуда: г.Минск
- Авто: VW Sharan, 1.8 20V Turbo, AWC 2001 г.в. Мешалка
- Возраст: 48
Re: Включается вентилятор радиатора
На каком испарителе? Испаритель в салоне, в панели. На трубке стоит датчик. Есть два варианта его установки. Через клапан, и просто в трубку. Отличается тем, что на месте установки клапана на трубе накручена трубка с клапаном, сантиметра 3-5 длинной, а потом клапан. Если трубки нет, то поменять датчик, не выпуская хладогент, не возможно.
Ни что не радует так, как то, что сделано собственными руками.
11piligrim11
11piligrim11
-
lexa-bistrii
- Наблюдатель

- Всего сообщений: 13
- Зарегистрирован: 11.03.2017
- Вод.стаж с: 1999
- Авто: Шаран ; 1998г.в.; 1.8т. AJH
Re: Включается вентилятор радиатора
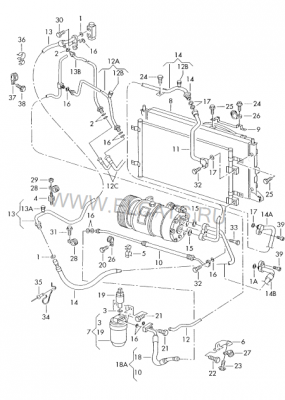
Прошу прощения , речь идёт об осушителе. Находится у меня в районе фары под бампером. Клапан "как я думал" называется (VAG 7M3 959 139 Датчик давления хладагента). Много противоречивой информации ,кто-то пишет что меняется без броблем будет только небольшой (пшик ) а кто пишет что без откачки хладогена не обойтись. Может кто менял и по собственному опыту знает ?
Осушитель позиция - 7.
Датчик позиция - 19.
Осушитель позиция - 7.
Датчик позиция - 19.
-
11piligrim11
- Супермодератор

- Всего сообщений: 7544
- Зарегистрирован: 12.03.2013
- Вод.стаж с: 1995
- Откуда: г.Минск
- Авто: VW Sharan, 1.8 20V Turbo, AWC 2001 г.в. Мешалка
- Возраст: 48
Re: Включается вентилятор радиатора
Я же написал. Правы и те и другие. Все зависит от наличия клапана. А он может быть, а может его и не быть. Встречается и так и так.
Ни что не радует так, как то, что сделано собственными руками.
11piligrim11
11piligrim11
-
Pivovar
- Бывалый

- Всего сообщений: 726
- Зарегистрирован: 26.08.2013
- Вод.стаж с: 1995
- Откуда: Гомель
- Авто: SEAT ALHAMBRA 1996 2.0ADY мкпп
- Возраст: 51
Re: Включается вентилятор радиатора
Я менял. Под датчиком нипель, типо автомобильного. газ не выйдет. Да была проблема после установки нового датчика, не нажимал на нипель, пришлось подколхозить. Так что обрати внимание, на длину той части датчика.
-
lexa-bistrii
- Наблюдатель

- Всего сообщений: 13
- Зарегистрирован: 11.03.2017
- Вод.стаж с: 1999
- Авто: Шаран ; 1998г.в.; 1.8т. AJH
Re: Включается вентилятор радиатора

Вот спасибо за ответ! Теперь успокоился, буду заказывать и прибывать менять!
Вот спасибо за ответ! Теперь успокоился, буду заказывать и прибывать менять!
-
lexa-bistrii
- Наблюдатель

- Всего сообщений: 13
- Зарегистрирован: 11.03.2017
- Вод.стаж с: 1999
- Авто: Шаран ; 1998г.в.; 1.8т. AJH
Re: Включается вентилятор радиатора
Поменял датчик ,вентиляторы заработали как положено! За нипель зря переживал ,фреона нет, система оказалась пуста.
Спасибо всем кто помог мне разобраться с вентиляторами!
Спасибо всем кто помог мне разобраться с вентиляторами!
-
Владиславиус
- Постоялец

- Всего сообщений: 229
- Зарегистрирован: 03.12.2013
- Вод.стаж с: 1992
- Откуда: Днепр Ukraine
- Авто: НЕТ ВОЙНЕ
- Возраст: 49
Re: Включается вентилятор радиатора
Вентиляторы, не работающие тогда когда вы от них этого ждёте, перво наперво нужно прозвонить через фишку.
Если залипли щётки он не прозванивается.
Вот я давече так и перебрал вентиляторы, у меня их два. 3 года назад один перебрал, и вот второй, на радиатор климата который,
остановился и не звонится.
Снял оба, секас ещё тот. Втулки в идеале, подшипники сносно, пружинки щёток как новые, щётки ещё ого-го, но вот беда - они залипли.
Протёр всё и собрал - ляпота )
Втулки, кстати, заранее приобрёл, а пока не понадобились. втулка сферическая 8x16x11 бронзографит.
Если залипли щётки он не прозванивается.
Вот я давече так и перебрал вентиляторы, у меня их два. 3 года назад один перебрал, и вот второй, на радиатор климата который,
остановился и не звонится.
Снял оба, секас ещё тот. Втулки в идеале, подшипники сносно, пружинки щёток как новые, щётки ещё ого-го, но вот беда - они залипли.
Протёр всё и собрал - ляпота )
Втулки, кстати, заранее приобрёл, а пока не понадобились. втулка сферическая 8x16x11 бронзографит.
НЕТ ВОЙНЕ
-
aleksandr.gorborukov
- Интересующийся

- Всего сообщений: 43
- Зарегистрирован: 10.06.2017
- Вод.стаж с: 2002
- Откуда: Старый Оскол
- Авто: VW sharan2.0 ADY 1998
- Возраст: 48
Re: Включается вентилятор радиатора
Возник вопрос,выключаю экон режим сразу включаются вентиляторы,так должно быть или нет,фриона мало ,компрессор не включается.
-
miki996
- Специалист

- Всего сообщений: 1657
- Зарегистрирован: 14.03.2013
- Откуда: Иваново
- Авто: Vw Sharan 2009 1.9L BVK+чиптюнинг. акпп GPE
- Возраст: 60
Re: Включается вентилятор радиатора
даже при неисправном кондее карлсоны все равно крутиться будут.
был шарик ADY 1996
-
11piligrim11
- Супермодератор

- Всего сообщений: 7544
- Зарегистрирован: 12.03.2013
- Вод.стаж с: 1995
- Откуда: г.Минск
- Авто: VW Sharan, 1.8 20V Turbo, AWC 2001 г.в. Мешалка
- Возраст: 48
Re: Включается вентилятор радиатора
aleksandr.gorborukov, На эконом компрессор включаться и не должен. Он включается только на авто и обдув на лобовое.
Ни что не радует так, как то, что сделано собственными руками.
11piligrim11
11piligrim11
-
- Похожие темы
- Ответы
- Просмотры
- Последнее сообщение
-
- 5 Ответы
- 4836 Просмотры
-
Последнее сообщение Vadomir
-
- 2 Ответы
- 5435 Просмотры
-
Последнее сообщение Jicler
-
- 19 Ответы
- 13999 Просмотры
-
Последнее сообщение aleksandr.gorborukov
-
- 2 Ответы
- 4700 Просмотры
-
Последнее сообщение sergey.belyn
-
- 4 Ответы
- 8861 Просмотры
-
Последнее сообщение Коняев Алексей
Мобильная версия